Best Buy Movie Mode

When Best Buy approached us about an upcoming movie promotion with Despicable Me, we knew we had the chance to create something fun. When we learned the Minions spoke their own gibberish language, we saw it as an oppuritunity to bring functionality to our fans while combating one of the biggest problems movie theaters were dealing with. Phones.

Enter Movie Mode. Working with Skywalker Ranch, we developed recognizable sound cues that were embeded within the soundtrack to the movie and able to be picked up by cellphones throughout the theater. This allowed us to sync up a content delivery system with the movie giving people the ability to understand what the Minions were saying real-time.

Turned out the idea was so unique, we patented it.

 
Screen Shot 2020-01-13 at 9.58.44 AM.png

Movie mode and content awarding system and method

US PATENT # US9921804B2

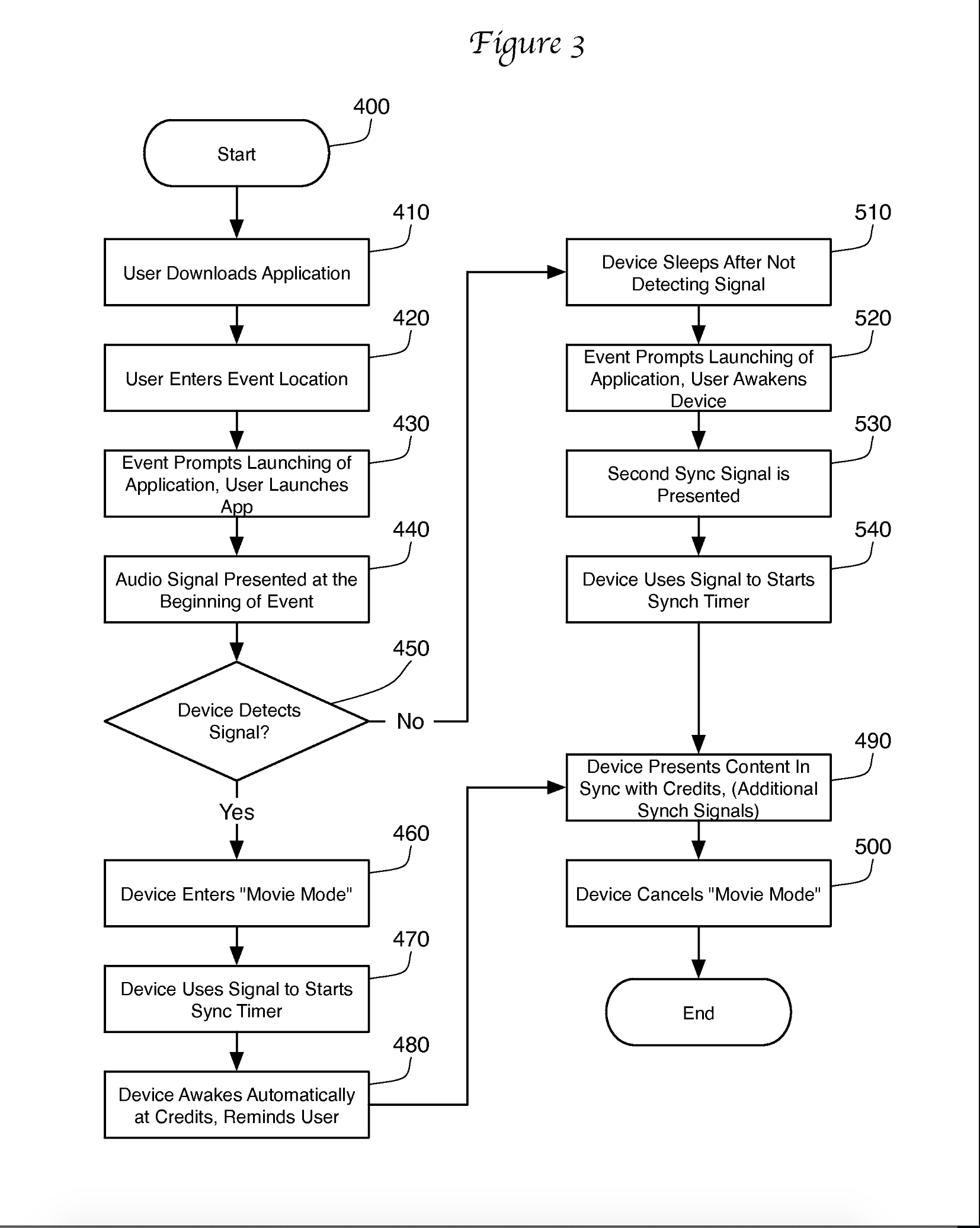
A system and method is presented for awarding content to users of mobile devices for attending events, appearing at locations, or viewing audiovisual content. One embodiment also automatically alters the configuration of mobile devices, which is particularly useful in movie theaters. An application on the device recognizes an audible signal provided at the location or in the audiovisual content. The signal can also be used to unlock content. In this way, desired content is available only when the user has attended an event such as an event sponsored by the content creator. The content can relate to the event, and can be synchronized to the event. The signal can also trigger an application or unlock content at a store location. For example, a scavenger hunt can be guided by an application on the mobile device.

Check it out